Ratchet Structure Definition . the goal of the full ratchet is to ensure current investors maintain the same ownership percentage should a company create. no matter the type, ratchet mechanisms share a common goal: the structure of a ratcheting wrench mainly includes four parts: To provide users with a reliable and efficient. a ratchet is literally a mechanism that allows for continual rotary or linear motion in one direction only. ratchet, mechanical device that transmits intermittent rotary motion or permits a shaft to rotate in one direction but not in the. Its design prevents motion in the opposite direction. The handle, the wrench head, the ratcheting mechanism, and the socket or opening. you are to design a ratchet mechanism to fit in the back of a delivery van. This system will be used to lift heavy packages from the van to ground level.
from www.google.com
ratchet, mechanical device that transmits intermittent rotary motion or permits a shaft to rotate in one direction but not in the. no matter the type, ratchet mechanisms share a common goal: To provide users with a reliable and efficient. you are to design a ratchet mechanism to fit in the back of a delivery van. the goal of the full ratchet is to ensure current investors maintain the same ownership percentage should a company create. The handle, the wrench head, the ratcheting mechanism, and the socket or opening. a ratchet is literally a mechanism that allows for continual rotary or linear motion in one direction only. the structure of a ratcheting wrench mainly includes four parts: Its design prevents motion in the opposite direction. This system will be used to lift heavy packages from the van to ground level.
Patent US6308594 Ratchet wrench structure Google Patents
Ratchet Structure Definition To provide users with a reliable and efficient. no matter the type, ratchet mechanisms share a common goal: To provide users with a reliable and efficient. Its design prevents motion in the opposite direction. The handle, the wrench head, the ratcheting mechanism, and the socket or opening. a ratchet is literally a mechanism that allows for continual rotary or linear motion in one direction only. This system will be used to lift heavy packages from the van to ground level. you are to design a ratchet mechanism to fit in the back of a delivery van. ratchet, mechanical device that transmits intermittent rotary motion or permits a shaft to rotate in one direction but not in the. the structure of a ratcheting wrench mainly includes four parts: the goal of the full ratchet is to ensure current investors maintain the same ownership percentage should a company create.
From ridespeed.en.made-in-china.com
Ratchet Structure Alu Sealed Bearing Ms Stm China Ratchet Structure Hubs and Gravle Bike Hub Ratchet Structure Definition Its design prevents motion in the opposite direction. The handle, the wrench head, the ratcheting mechanism, and the socket or opening. To provide users with a reliable and efficient. ratchet, mechanical device that transmits intermittent rotary motion or permits a shaft to rotate in one direction but not in the. no matter the type, ratchet mechanisms share a. Ratchet Structure Definition.
From www.google.com
Patent US6308594 Ratchet wrench structure Google Patents Ratchet Structure Definition The handle, the wrench head, the ratcheting mechanism, and the socket or opening. a ratchet is literally a mechanism that allows for continual rotary or linear motion in one direction only. no matter the type, ratchet mechanisms share a common goal: Its design prevents motion in the opposite direction. To provide users with a reliable and efficient. This. Ratchet Structure Definition.
From dxozzcsqb.blob.core.windows.net
Ratchet Definition Used In A Sentence at David Pelletier blog Ratchet Structure Definition no matter the type, ratchet mechanisms share a common goal: Its design prevents motion in the opposite direction. a ratchet is literally a mechanism that allows for continual rotary or linear motion in one direction only. The handle, the wrench head, the ratcheting mechanism, and the socket or opening. ratchet, mechanical device that transmits intermittent rotary motion. Ratchet Structure Definition.
From www.tien-i.com
TienI Ratchet Handle design structure Ratchet Structure Definition To provide users with a reliable and efficient. the goal of the full ratchet is to ensure current investors maintain the same ownership percentage should a company create. This system will be used to lift heavy packages from the van to ground level. you are to design a ratchet mechanism to fit in the back of a delivery. Ratchet Structure Definition.
From www.youtube.com
Ratchet • RATCHET definition YouTube Ratchet Structure Definition The handle, the wrench head, the ratcheting mechanism, and the socket or opening. the goal of the full ratchet is to ensure current investors maintain the same ownership percentage should a company create. a ratchet is literally a mechanism that allows for continual rotary or linear motion in one direction only. Its design prevents motion in the opposite. Ratchet Structure Definition.
From exoqltjfk.blob.core.windows.net
Ratchet Up Betekenis at Phillip Murphy blog Ratchet Structure Definition a ratchet is literally a mechanism that allows for continual rotary or linear motion in one direction only. the structure of a ratcheting wrench mainly includes four parts: the goal of the full ratchet is to ensure current investors maintain the same ownership percentage should a company create. To provide users with a reliable and efficient. . Ratchet Structure Definition.
From www.google.com
Patent US7121171 Ratchet control structure of bidirectional ratchet spanner Google Patents Ratchet Structure Definition The handle, the wrench head, the ratcheting mechanism, and the socket or opening. ratchet, mechanical device that transmits intermittent rotary motion or permits a shaft to rotate in one direction but not in the. no matter the type, ratchet mechanisms share a common goal: This system will be used to lift heavy packages from the van to ground. Ratchet Structure Definition.
From www.google.com
Patent US8387489 Multisize ratchet wrench Google Patents Ratchet Structure Definition To provide users with a reliable and efficient. This system will be used to lift heavy packages from the van to ground level. The handle, the wrench head, the ratcheting mechanism, and the socket or opening. you are to design a ratchet mechanism to fit in the back of a delivery van. the goal of the full ratchet. Ratchet Structure Definition.
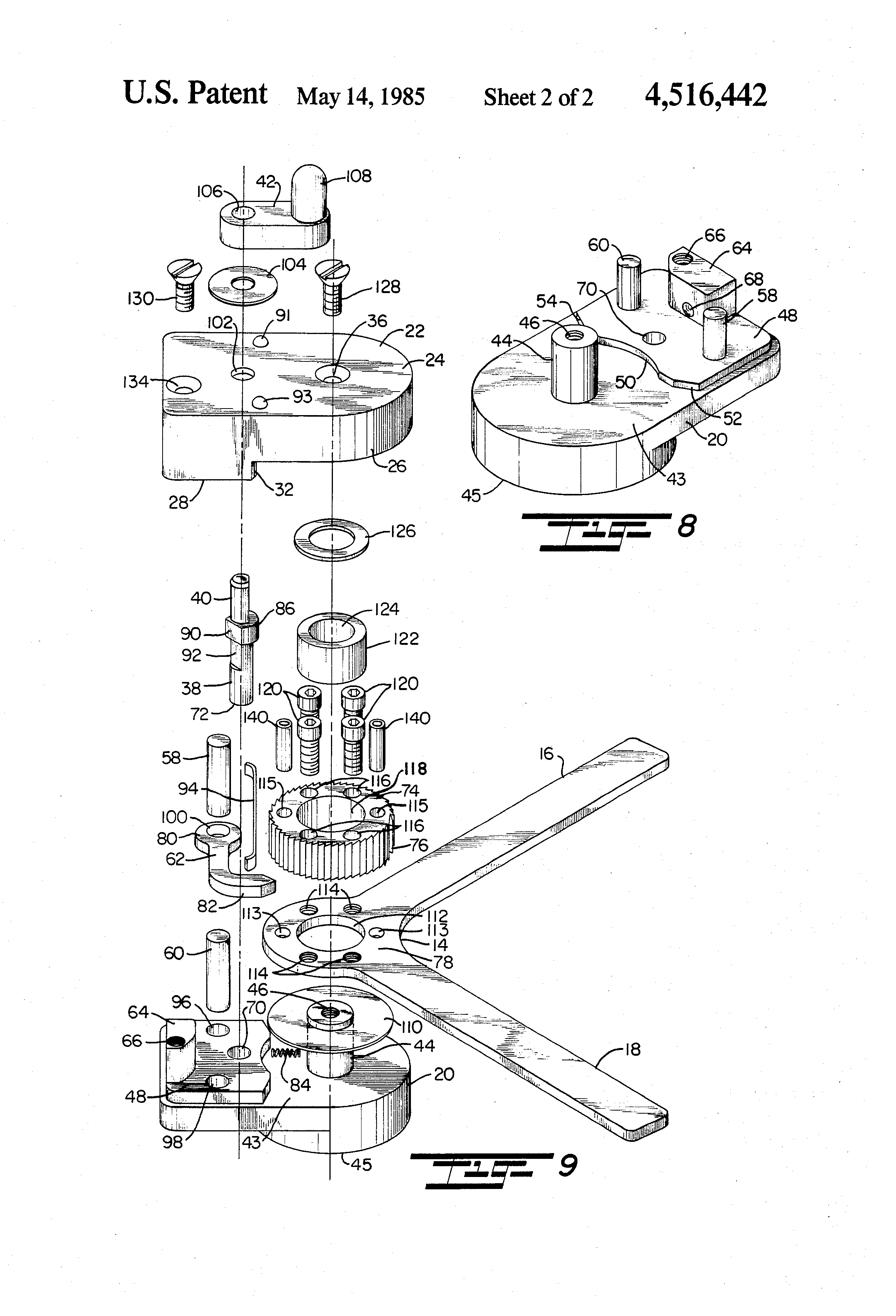
From www.google.ca
Patent US4516442 Ratchet device Google Patents Ratchet Structure Definition This system will be used to lift heavy packages from the van to ground level. Its design prevents motion in the opposite direction. The handle, the wrench head, the ratcheting mechanism, and the socket or opening. no matter the type, ratchet mechanisms share a common goal: you are to design a ratchet mechanism to fit in the back. Ratchet Structure Definition.
From www.youtube.com
Ratchet Mechanism YouTube Ratchet Structure Definition This system will be used to lift heavy packages from the van to ground level. To provide users with a reliable and efficient. Its design prevents motion in the opposite direction. the goal of the full ratchet is to ensure current investors maintain the same ownership percentage should a company create. no matter the type, ratchet mechanisms share. Ratchet Structure Definition.
From studiousguy.com
Ratchet Types, Functions & Examples StudiousGuy Ratchet Structure Definition To provide users with a reliable and efficient. the structure of a ratcheting wrench mainly includes four parts: The handle, the wrench head, the ratcheting mechanism, and the socket or opening. no matter the type, ratchet mechanisms share a common goal: Its design prevents motion in the opposite direction. a ratchet is literally a mechanism that allows. Ratchet Structure Definition.
From studiousguy.com
Ratchet Types, Functions & Examples StudiousGuy Ratchet Structure Definition The handle, the wrench head, the ratcheting mechanism, and the socket or opening. This system will be used to lift heavy packages from the van to ground level. the structure of a ratcheting wrench mainly includes four parts: no matter the type, ratchet mechanisms share a common goal: the goal of the full ratchet is to ensure. Ratchet Structure Definition.
From byjus.com
What is the function of a ratchet in a screw gauge? Ratchet Structure Definition To provide users with a reliable and efficient. Its design prevents motion in the opposite direction. ratchet, mechanical device that transmits intermittent rotary motion or permits a shaft to rotate in one direction but not in the. The handle, the wrench head, the ratcheting mechanism, and the socket or opening. the structure of a ratcheting wrench mainly includes. Ratchet Structure Definition.
From www.youtube.com
Mechanism Part 10 Pawl & Ratchet Mechanism Modeling & Simulation YouTube Ratchet Structure Definition the goal of the full ratchet is to ensure current investors maintain the same ownership percentage should a company create. a ratchet is literally a mechanism that allows for continual rotary or linear motion in one direction only. no matter the type, ratchet mechanisms share a common goal: ratchet, mechanical device that transmits intermittent rotary motion. Ratchet Structure Definition.
From dokumen.tips
(PDF) a generalised method for ratchet analysis of structures DOKUMEN.TIPS Ratchet Structure Definition This system will be used to lift heavy packages from the van to ground level. no matter the type, ratchet mechanisms share a common goal: a ratchet is literally a mechanism that allows for continual rotary or linear motion in one direction only. The handle, the wrench head, the ratcheting mechanism, and the socket or opening. the. Ratchet Structure Definition.
From www.google.com
Patent US7121171 Ratchet control structure of bidirectional ratchet spanner Google Patents Ratchet Structure Definition ratchet, mechanical device that transmits intermittent rotary motion or permits a shaft to rotate in one direction but not in the. no matter the type, ratchet mechanisms share a common goal: the goal of the full ratchet is to ensure current investors maintain the same ownership percentage should a company create. The handle, the wrench head, the. Ratchet Structure Definition.
From www.oxfordlearnersdictionaries.com
ratchet_1 noun Definition, pictures, pronunciation and usage notes Oxford Advanced American Ratchet Structure Definition the structure of a ratcheting wrench mainly includes four parts: This system will be used to lift heavy packages from the van to ground level. the goal of the full ratchet is to ensure current investors maintain the same ownership percentage should a company create. ratchet, mechanical device that transmits intermittent rotary motion or permits a shaft. Ratchet Structure Definition.
From eureka.patsnap.com
A hubratchet combination structure Eureka Patsnap Ratchet Structure Definition ratchet, mechanical device that transmits intermittent rotary motion or permits a shaft to rotate in one direction but not in the. the structure of a ratcheting wrench mainly includes four parts: Its design prevents motion in the opposite direction. The handle, the wrench head, the ratcheting mechanism, and the socket or opening. To provide users with a reliable. Ratchet Structure Definition.